Link Diretto
  • Conrad
  • Il mio account

    Accedi / Registrati

  • Carrello

  • Promozioni > Promozioni >
  • Categoria Industria
    Industria
    Infrastrutture
    Servizi professionali
  • Mondo Conrad
    Conrad - Your Sourcing Platform
    Conrad Partner
    Nuovi Prodotti
    Guide Conrad
    Vendi su Conrad

    Nostri marchi

    Toolcraft
    Voltcraft
    Tru components
    Renkforce
    Speaka professional
    Sygonix
  • Servizi

    Scopri i nostri servizi.

    Ordini a programma
    eProcurement
    Newsletter
    Servizio Quotazioni
    Cavi su misura
    Servizio Calibrazione
    Guide e novità
  • Scopri i nostri prodotti
  • Il mio account
  • Lista dei preferiti
  • Logout
Conrad
Home
Automazione e Pneumatica Automazione Quadri di comando Protezioni

Siemens 3RT2025-1BB40 Contattore 3 NA 7.5 kW 24 V/DC 17 A con contatto ausiliario 1 pz.

EAN:
Codice produttore
Articolo n°:
Un contattore Siemens, tipo Sirius, in grigio e nero, con connessioni elettriche ed etichette.
Un contattore Siemens, tipo Sirius, in grigio e nero, con connessioni elettriche ed etichette.
In una stanza con grandi macchine, guardando attraverso una finestra, si vedono all'interno complesse unità di controllo elettroniche con cavi e circuiti.
Disegno esploso di un interruttore con componenti. Connettori e componenti numerati sono descritti per l'assemblaggio.
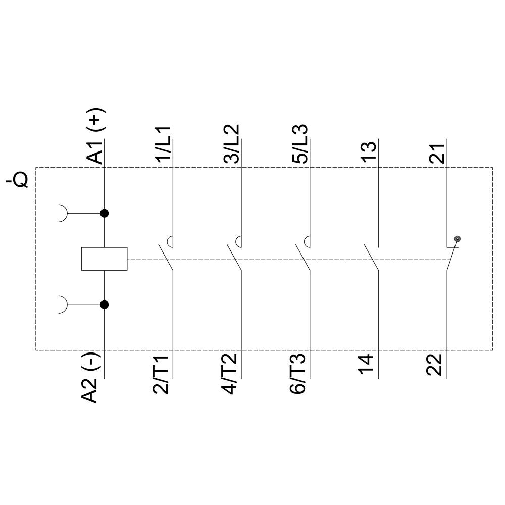
Schema elettrico di un impianto con sei interruttori, numerati da 1/L1 a 22, e un collegamento tra A1 (+) e A2 (-).
Disegno tecnico di un relè elettrico con dimensioni; vista frontale, laterale e dall'alto con misure dettagliate.
Uno schema elettrico di un contattore Siemens SIRIUS con punti di connessione contrassegnati e le denominazioni L1, L2, L3, 13NO, 21NC, A1+, A2.
1/6
Immagine simile
Tipo prodotto
Contattore
Numero poli
3 poli
Tensione nom.
24 V/DC
Corrente di carico
17 A
Potenza
7.5 kW
Scheda tecnica (PDF)
Deutsch (Deutschland)
Siemens
Consegna entroMer. 8 Apr.

1 Pezzo(i)

Quantità (Pezzo(i))
Risparmio
Prezzo dell'imballaggio (IVA escl.)
2
-
64,00 €
3
2% = 1,00 €
63,00 €
5
3% = 2,00 €
62,00 €
10
6% = 4,00 €
60,00 €
I prezzi a scala possono variare a seconda del venditore
Risparmio 0,00 €

Numero

Totale (65,00 € / Pezzo)
65,00 €
Prodotto proveniente da altro paese EU (IVA 0%) 
17,90 € 
Solo 1 pezzo(i) disponibili
Segnala un problema
  •  

    Oltre 1.800.000 prodotti disponibili

     

  • Quotazioni personalizzate

  • Consegna gratuita a partire da €100

  • Soddisfatti o rimborsati

  • 2500 marchi

  • Assistenza Clienti

  • Ordini

  • Spedizione

  • Pagamento

  • Garanzia e Resi

  • FAQ - Domande frequenti

  • Chi Siamo

  • Conrad Your Sourcing Platform

  • Guide & Articoli

  • I nostri Marchi

  • Qualità

  • Ecosostenibilità

  • Informazioni REACH

  • Informazioni sull'accessibilità

  • Servizi Conrad

  • Richiedi quotazione

  • e-Procurement

  • Vendi su Conrad

  • Ordini a programma

  • Link rapidi - Servizi

  • Marchi dalla A alla Z

  • Categorie dalla A alla Z

  • Promozioni 🛒

  • Download center

  • Lavora con noi

  • Vulnerability Disclosure Program

Newsletter

Iscrivetevi alla newsletter e riceverete uno sconto del 10% sul vostro prossimo ordine, senza minimo d'ordine.

Iscrivetevi alla newsletter e riceverete uno sconto del 10% sul vostro prossimo ordine, senza minimo d'ordine.

Inserisci un indirizzo e-mail valido!

Prodotti Office selezionati
Sconto valido solo su articoli per ufficio selezionati, restituibili e disponibili in magazzino (stato di disponibilità verde). Offerta valida fino al 05.04.2026 su conrad.it (esclusi gli ordini tramite Marketplace). Non cumulabile con altri codici sconto. Limitato a un utilizzo per cliente professionale/privato. Potrà essere applicata una limitazione delle quantità acquistate a seconda dei casi.

Metodi di pagamento
  • paypal
  • carte-di-credito
  • bonifico
  • contrassegno
I social media

Tutti i prezzi escludono l'IVA ed escludono la spedizione.

Tutti i prezzi includono l'IVA ed escludono la spedizione.

  • Termini e condizioni

  • Informazioni legali

  • Privacy policy

  • Diritto di recesso

Confronto degli articoli
Lista dei preferiti