Link Diretto
  • Conrad
  • Il mio account

    Accedi / Registrati

  • Carrello

  • Promozioni > Promozioni >
  • Categoria Industria
    Industria
    Infrastrutture
    Servizi professionali
  • Mondo Conrad
    Conrad - Your Sourcing Platform
    Conrad Partner
    Nuovi Prodotti
    Guide Conrad
    Vendi su Conrad

    Nostri marchi

    Toolcraft
    Voltcraft
    Tru components
    Renkforce
    Speaka professional
    Sygonix
  • Servizi

    Scopri i nostri servizi.

    Ordini a programma
    eProcurement
    Newsletter
    Servizio Quotazioni
    Cavi su misura
    Servizio Calibrazione
    Guide e novità
  • Scopri i nostri prodotti
  • Il mio account
  • Lista dei preferiti
  • Logout
Conrad
Home
Saldatura, Elettroutensili e Attrezzi Materiali di fissaggio e montaggio Tasselli

Fischer 084341 KD 4 K NV Tassello ad ancora 105 mm 1 KIT

EAN:
Codice produttore
Articolo n°:
Tassello metallico ad espansione con ali e barra filettata, utilizzato per fissare oggetti a pareti cave.
Tassello metallico ad espansione con ali e barra filettata, utilizzato per fissare oggetti a pareti cave.
'Due tasselli a farfalla Fischer M4 in una confezione. Idonei per soffitti fino a 15 kg e pareti fino a 58 kg.'
Cinque lampade a sospensione moderne con paralumi conici in vetro, montate in fila davanti a una parete bianca.
Due lavandini bianchi con rubinetti moderni davanti a un grande specchio, montati su una parete piastrellata beige nel bagno.
L'immagine mostra un trapano che viene estratto verso l'alto da un pezzo, indicato da una freccia rossa.
Un gancio viene fissato a una trave forata con un'asta filettata e un meccanismo a leva. Una freccia indica il movimento della leva.
L'immagine mostra un collegamento a vite con un'asta metallica e un gancio. Una freccia indica la rotazione verso destra, mentre un'altra freccia punta verso il basso.
'Disegno di uno strumento di tensionamento con meccanismo a vite, utilizzato per avvicinare due piastre. La freccia rossa indica la direzione della rotazione.'
Il diagramma mostra un bullone con dado che collega due lastre tratteggiate.
Meccanismo di sollevamento a gancio: Un gancio viene sollevato tramite un dispositivo a vite per fissare un oggetto. Le frecce rosse indicano la direzione di rotazione.
Gancio metallico da soffitto, montato su piastra forata, consente il fissaggio di oggetti al soffitto.
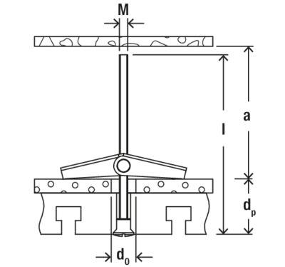
Disegno tecnico di un meccanismo di sollevamento con quote. In alto è presente una piattaforma 'M', sotto di essa un meccanismo a leva. Le quote 'a', 'dₚ' e 'd₀' sono contrassegnate.
1/12
Fischer
Scheda tecnica (PDF)
Deutsch (Deutschland)
Consegna entroLun. 13 Apr.

20 Set(s)

Numero

Totale
10,65 €
-31 %
7,37 €
IVA escl. 
Segnala un problema
  •  

    Oltre 1.800.000 prodotti disponibili

     

  • Quotazioni personalizzate

  • Consegna gratuita a partire da €100

  • Soddisfatti o rimborsati

  • 2500 marchi

  • Assistenza Clienti

  • Ordini

  • Spedizione

  • Pagamento

  • Garanzia e Resi

  • FAQ - Domande frequenti

  • Chi Siamo

  • Conrad Your Sourcing Platform

  • Guide & Articoli

  • I nostri Marchi

  • Qualità

  • Ecosostenibilità

  • Informazioni REACH

  • Informazioni sull'accessibilità

  • Servizi Conrad

  • Richiedi quotazione

  • e-Procurement

  • Vendi su Conrad

  • Ordini a programma

  • Link rapidi - Servizi

  • Marchi dalla A alla Z

  • Categorie dalla A alla Z

  • Promozioni 🛒

  • Download center

  • Lavora con noi

  • Vulnerability Disclosure Program

Newsletter

Iscrivetevi alla newsletter e riceverete uno sconto del 10% sul vostro prossimo ordine, senza minimo d'ordine.

Iscrivetevi alla newsletter e riceverete uno sconto del 10% sul vostro prossimo ordine, senza minimo d'ordine.

Inserisci un indirizzo e-mail valido!

Prodotti Office selezionati
Sconto valido solo su articoli per ufficio selezionati, restituibili e disponibili in magazzino (stato di disponibilità verde). Offerta valida fino al 05.04.2026 su conrad.it (esclusi gli ordini tramite Marketplace). Non cumulabile con altri codici sconto. Limitato a un utilizzo per cliente professionale/privato. Potrà essere applicata una limitazione delle quantità acquistate a seconda dei casi.

Metodi di pagamento
  • paypal
  • carte-di-credito
  • bonifico
  • contrassegno
I social media

Tutti i prezzi escludono l'IVA ed escludono la spedizione.

Tutti i prezzi includono l'IVA ed escludono la spedizione.

  • Termini e condizioni

  • Informazioni legali

  • Privacy policy

  • Diritto di recesso

Confronto degli articoli
Lista dei preferiti