Link Diretto
  • Conrad
  • Il mio account

    Accedi / Registrati

  • Carrello

  • Promozioni > Promozioni >
  • Categoria Industria
    Industria
    Infrastrutture
    Servizi professionali
  • Mondo Conrad
    Conrad - Your Sourcing Platform
    Conrad Partner
    Nuovi Prodotti
    Guide Conrad
    Vendi su Conrad

    Nostri marchi

    Toolcraft
    Voltcraft
    Tru components
    Renkforce
    Speaka professional
    Sygonix
  • Servizi

    Scopri i nostri servizi.

    Ordini a programma
    eProcurement
    Newsletter
    Servizio Quotazioni
    Cavi su misura
    Servizio Calibrazione
    Guide e novità
  • Scopri i nostri prodotti
  • Il mio account
  • Lista dei preferiti
  • Logout
Conrad
Home
Automazione e Pneumatica Automazione Azionamento Avviatori e dispositivi di frenatura

Siemens 3RW4027-1BB04 3RW40271BB04 Avviatore soft starter Potenza motore a 400 V 15 kW 480 V Corrente nominale 32 A

EAN:
Codice produttore
Articolo n°:
Un contattore elettrico Siemens con più morsetti a vite. Serve per il controllo e la commutazione di carichi elettrici.
Un contattore elettrico Siemens con più morsetti a vite. Serve per il controllo e la commutazione di carichi elettrici.
Un armadio elettrico aperto mostra una disposizione ordinata di circuiti elettrici, fili e componenti di controllo.
Diagramma di un avviatore statico 3RV40 con componenti: interruttore di potenza, coperchio morsetti, ventola, morsetti di ingresso e uscita.
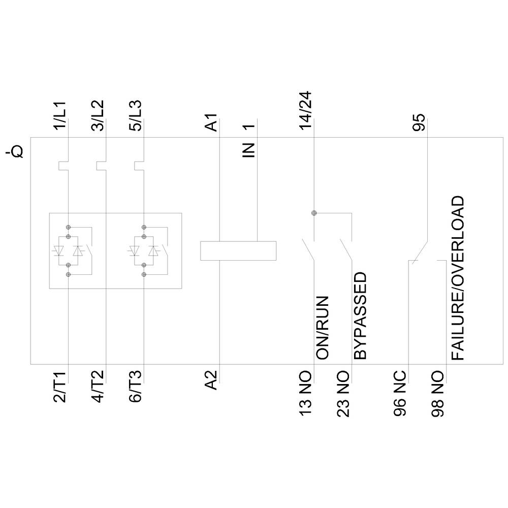
Uno schema elettrico mostra lo schema elettrico di un motore con etichette per diversi morsetti: L1, L2, L3, T1, T2, T3, A1, A2, 13 NO, 14/24, 23 NO, ON/RUN, BYPASSED, 95, 96 NC, 98 NC, FAILURE/OVERLOAD.
Disegno tecnico di un dispositivo elettrico con vista frontale, laterale e dall'alto. Dimensioni espresse in millimetri.
1/5
Immagine simile
Siemens
Scheda tecnica (PDF)
Deutsch (Deutschland)
Consegna in 2 giorni

5 Pezzo(i)

Numero

Totale
318,33 €
Prodotto proveniente da altro paese EU (IVA 0%) 
17,00 € 
Solo 5 pezzo(i) disponibili
Segnala un problema
  •  

    Oltre 1.800.000 prodotti disponibili

     

  • Quotazioni personalizzate

  • Consegna gratuita a partire da €100

  • Soddisfatti o rimborsati

  • 2500 marchi

  • Assistenza Clienti

  • Ordini

  • Spedizione

  • Pagamento

  • Garanzia e Resi

  • FAQ - Domande frequenti

  • Chi Siamo

  • Conrad Your Sourcing Platform

  • Guide & Articoli

  • I nostri Marchi

  • Qualità

  • Ecosostenibilità

  • Informazioni REACH

  • Informazioni sull'accessibilità

  • Servizi Conrad

  • Richiedi quotazione

  • e-Procurement

  • Vendi su Conrad

  • Ordini a programma

  • Link rapidi - Servizi

  • Marchi dalla A alla Z

  • Categorie dalla A alla Z

  • Promozioni 🛒

  • Download center

  • Lavora con noi

  • Vulnerability Disclosure Program

Newsletter

Iscrivetevi alla newsletter e riceverete uno sconto del 10% sul vostro prossimo ordine, senza minimo d'ordine.

Iscrivetevi alla newsletter e riceverete uno sconto del 10% sul vostro prossimo ordine, senza minimo d'ordine.

Inserisci un indirizzo e-mail valido!

Metodi di pagamento
  • paypal
  • carte-di-credito
  • bonifico
  • contrassegno
I social media

Tutti i prezzi escludono l'IVA ed escludono la spedizione.

Tutti i prezzi includono l'IVA ed escludono la spedizione.

  • Termini e condizioni

  • Informazioni legali

  • Privacy policy

  • Diritto di recesso

Confronto degli articoli
Lista dei preferiti