Link Diretto
  • Conrad
  • Il mio account

    Accedi / Registrati

  • Carrello

  • Promozioni > Promozioni >
  • Categoria Industria
    Industria
    Infrastrutture
    Servizi professionali
  • Mondo Conrad
    Conrad - Your Sourcing Platform
    Conrad Partner
    Nuovi Prodotti
    Guide Conrad
    Vendi su Conrad

    Nostri marchi

    Toolcraft
    Voltcraft
    Tru components
    Renkforce
    Speaka professional
    Sygonix
  • Servizi

    Scopri i nostri servizi.

    Ordini a programma
    eProcurement
    Newsletter
    Servizio Quotazioni
    Cavi su misura
    Servizio Calibrazione
    Guide e novità
  • Scopri i nostri prodotti
  • Il mio account
  • Lista dei preferiti
  • Logout
Conrad
Home
Automazione e Pneumatica Automazione Apparecchi di comando e segnalazione Contatti e portalampade

Siemens 3SU1400-1AA10-1BA0 Modulo contatto 1 NA 500 V 1 pz.

EAN:
Codice produttore
Articolo n°:
Interruttore elettrico nero con due connessioni, contrassegnato con '0,3 NO' e '0,4 NO', destinato all'uso in dispositivi elettrici.
Interruttore elettrico nero con due connessioni, contrassegnato con '0,3 NO' e '0,4 NO', destinato all'uso in dispositivi elettrici.
Stazione della funivia con una cabinovia arancione pronta per la salita. Pannello di controllo con pulsanti in primo piano, montagne sullo sfondo.
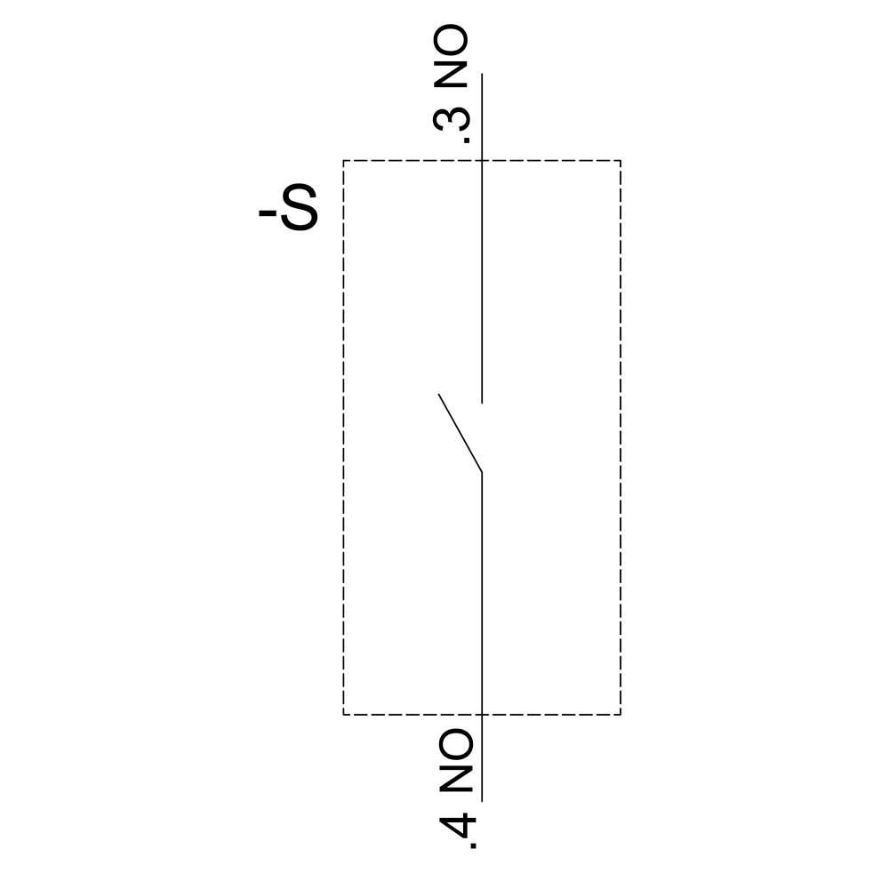
Il simbolo del contatto mostra un contatto di apertura di un dispositivo di sicurezza. A sinistra contrassegnato con '-S', a destra '3 NO', in basso '4 NO'.
Disegno tecnico di un interruttore Siemens, modello 3SU14. Dimensioni: altezza 33,2 mm, larghezza 9,8 mm, profondità 27,7 mm.
1/4
Immagine simile
Siemens
Scheda tecnica (PDF)
Deutsch (Deutschland)
Consegna entroMer. 8 Apr.

53 Pezzo(i)

Quantità (Pezzo(i))
Risparmio
Prezzo dell'imballaggio (IVA escl.)
3
-
3,75 €
5
7% = 0,25 €
3,50 €
10
12% = 0,45 €
3,30 €
I prezzi a scala possono variare a seconda del venditore
Risparmio 0,00 €

Numero

Totale (4,00 € / Pezzo)
4,00 €
Prodotto proveniente da altro paese EU (IVA 0%) 
17,90 € 
Segnala un problema
  •  

    Oltre 1.800.000 prodotti disponibili

     

  • Quotazioni personalizzate

  • Consegna gratuita a partire da €100

  • Soddisfatti o rimborsati

  • 2500 marchi

  • Assistenza Clienti

  • Ordini

  • Spedizione

  • Pagamento

  • Garanzia e Resi

  • FAQ - Domande frequenti

  • Chi Siamo

  • Conrad Your Sourcing Platform

  • Guide & Articoli

  • I nostri Marchi

  • Qualità

  • Ecosostenibilità

  • Informazioni REACH

  • Informazioni sull'accessibilità

  • Servizi Conrad

  • Richiedi quotazione

  • e-Procurement

  • Vendi su Conrad

  • Ordini a programma

  • Link rapidi - Servizi

  • Marchi dalla A alla Z

  • Categorie dalla A alla Z

  • Promozioni 🛒

  • Download center

  • Lavora con noi

  • Vulnerability Disclosure Program

Newsletter

Iscrivetevi alla newsletter e riceverete uno sconto del 10% sul vostro prossimo ordine, senza minimo d'ordine.

Iscrivetevi alla newsletter e riceverete uno sconto del 10% sul vostro prossimo ordine, senza minimo d'ordine.

Inserisci un indirizzo e-mail valido!

Prodotti Office selezionati
Sconto valido solo su articoli per ufficio selezionati, restituibili e disponibili in magazzino (stato di disponibilità verde). Offerta valida fino al 05.04.2026 su conrad.it (esclusi gli ordini tramite Marketplace). Non cumulabile con altri codici sconto. Limitato a un utilizzo per cliente professionale/privato. Potrà essere applicata una limitazione delle quantità acquistate a seconda dei casi.

Metodi di pagamento
  • paypal
  • carte-di-credito
  • bonifico
  • contrassegno
I social media

Tutti i prezzi escludono l'IVA ed escludono la spedizione.

Tutti i prezzi includono l'IVA ed escludono la spedizione.

  • Termini e condizioni

  • Informazioni legali

  • Privacy policy

  • Diritto di recesso

Confronto degli articoli
Lista dei preferiti