Link Diretto
  • Conrad
  • Il mio account

    Accedi / Registrati

  • Carrello

  • Promozioni > Promozioni >
  • Categoria Industria
    Industria
    Infrastrutture
    Servizi professionali
  • Mondo Conrad
    Conrad - Your Sourcing Platform
    Conrad Partner
    Nuovi Prodotti
    Guide Conrad
    Vendi su Conrad

    Nostri marchi

    Toolcraft
    Voltcraft
    Tru components
    Renkforce
    Speaka professional
    Sygonix
  • Servizi

    Scopri i nostri servizi.

    Ordini a programma
    eProcurement
    Newsletter
    Servizio Quotazioni
    Cavi su misura
    Servizio Calibrazione
    Guide e novità
  • Scopri i nostri prodotti
  • Il mio account
  • Lista dei preferiti
  • Logout
Conrad
Home
Automazione e Pneumatica Automazione Apparecchi di comando e segnalazione Contatti e portalampade

Elemento di contatto Siemens SIRIUS ACT 3SU1400-1AA10-3BA0

EAN:
Codice produttore
Articolo n°:
Estensione elettrica nera per contattori con due etichette '0.3 NO' e '0.4 NO', che indicano le posizioni dei contatti.
Estensione elettrica nera per contattori con due etichette '0.3 NO' e '0.4 NO', che indicano le posizioni dei contatti.
Stazione funiviaria con cabina, quadro di controllo in primo piano. Montagne visibili sullo sfondo attraverso la finestra di vetro. Tecnica e paesaggio unite.
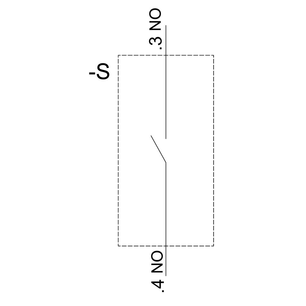
Schema elettrico di un fusibile a due stadi con le etichette '3 NO' e '4 NO' alle estremità rispettive, interruzione contrassegnata.
Disegno tecnico di un interruttore Siemens, dimensioni: larghezza 9,8 mm, altezza 36 mm, profondità 27,7 mm. Sono rappresentate la vista frontale e laterale.
1/4
Immagine simile
Siemens
Scheda tecnica (PDF)
Deutsch (Deutschland)
 

13 Pezzo(i)
Vendita e spedizione:
intos GmbH (IT) Termini e condizioni

Quantità (Pezzo(i))
Risparmio
Prezzo dell'imballaggio (IVA escl.)
3
-
3,75 € €
5
7% = 0,25 €
3,50 € €
10
12% = 0,45 €
3,30 € €
I prezzi a scala possono variare a seconda del venditore
Risparmio 0,00 €

Numero

Totale (4,00 € / Pezzo)
€
Avete già l'offerta migliore per la vostra quantità.
La nostra offerta (Prezzi per 1 Pezzo(i))
Conrad Electronic
AGB & Rückgaberichtlinien
 

110 Pezzo(i)

Spedizione
La nostra offerta

€

IVA escl.
Segnala un problema
  •  

    Oltre 1.800.000 prodotti disponibili

     

  • Quotazioni personalizzate

  • Consegna gratuita a partire da €100

  • Soddisfatti o rimborsati

  • 2500 marchi

  • Assistenza Clienti

  • Ordini

  • Spedizione

  • Pagamento

  • Garanzia e Resi

  • FAQ - Domande frequenti

  • Chi Siamo

  • Conrad Your Sourcing Platform

  • Guide & Articoli

  • I nostri Marchi

  • Qualità

  • Ecosostenibilità

  • Informazioni REACH

  • Informazioni sull'accessibilità

  • Servizi Conrad

  • Richiedi quotazione

  • e-Procurement

  • Vendi su Conrad

  • Ordini a programma

  • Link rapidi - Servizi

  • Marchi dalla A alla Z

  • Categorie dalla A alla Z

  • Promozioni 🛒

  • Download center

  • Lavora con noi

  • Vulnerability Disclosure Program

Newsletter

Iscrivetevi alla newsletter e riceverete uno sconto del 10% sul vostro prossimo ordine, senza minimo d'ordine.

Iscrivetevi alla newsletter e riceverete uno sconto del 10% sul vostro prossimo ordine, senza minimo d'ordine.

Inserisci un indirizzo e-mail valido!

* Sconti validi solo sugli articoli scontabili disponibili immediatamente (stato di disponibilità verde): -15% sugli articoli di illuminazione del marchio Sygonix, -10% su tutta la gamma dei marchi Paulmann e Ledlenser, nonché -10% su una selezione di articoli del marchio Philips. Valido fino al 10/05/2026 su conrad.it (ad eccezione degli ordini Marketplace). Non cumulabile con altri codici promozionali. Un utilizzo per cliente. In alcuni casi può essere applicata una limitazione della quantità venduta.

Metodi di pagamento
  • paypal
  • carte-di-credito
  • bonifico
  • contrassegno
I social media

Tutti i prezzi escludono l'IVA ed escludono la spedizione.

Tutti i prezzi includono l'IVA ed escludono la spedizione.

  • Termini e condizioni

  • Informazioni legali

  • Privacy policy

  • Diritto di recesso

Confronto degli articoli
Lista dei preferiti